ウーリーテック
動きにくいのは仕方ない。
そんなウールの常識を変える、
軽やかで心地よいウール調新素材。
FUNCTION
重さというストレスをから開放します。
空気を含ませることで心地良いあたたかさを感じます。
肩回りの動きにくさを伸縮素材で解消しました。
肌触りの良さにも配慮しました。
TECHNOLOGY
暖かさにこだわりながら、
サステナブル原料を基に独自技術を
駆使して開発したウール調合繊素材です。
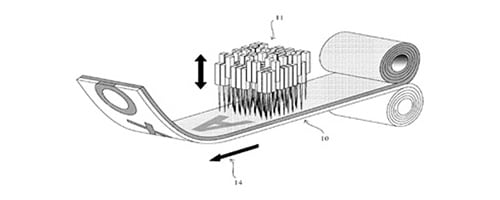
生地表面へのニードルパンチという特殊な加工で美しい表面感とあたたかさを兼ね備えています。
ジャージー編みを施すことで適度な伸縮性を実現しました。
ペットボトル由来のポリエステルや、再生繊維であるレーヨンを主原料としています。
検索結果
-
GLOBAL WORK
軽やかストレッチ襟2WAYミドルコート/499658
¥12,980税込
-
-
GLOBAL WORK
軽やかストレッチ襟2WAYミドルコート/499658
¥12,980税込
-
-
GLOBAL WORK
軽やかストレッチ襟2WAYミドルコート/499658
¥12,980税込
-
-
GLOBAL WORK
軽やかストレッチ襟2WAYミドルコート/499658
¥12,980税込
-
-
GLOBAL WORK
軽やかストレッチ襟2WAYミドルコート/499658
¥12,980税込
-
-
LOWRYS FARM
ウーリーテックスタンドブルゾン
¥11,000税込
-
-
LOWRYS FARM
ウーリーテックスタンドブルゾン
¥11,000税込
-
-
LOWRYS FARM
ウーリーテックスタンドブルゾン
¥11,000税込
-
-
LOWRYS FARM
ウーリーテックスタンドブルゾン
¥11,000税込
-
-
LOWRYS FARM
ウーリーテックスタンドブルゾン
¥11,000税込
-
-
HARE
【新色予約開始 LADIES】ウーリーテック2WAYミドルコート
¥16,500税込
-
-
HARE
【新色予約開始 LADIES】ウーリーテック2WAYミドルコート
¥16,500税込
-
-
HARE
【新色予約開始 LADIES】ウーリーテック2WAYミドルコート
¥16,500税込
-
-
HARE
【新色予約開始 LADIES】ウーリーテック2WAYミドルコート
¥16,500税込
-
-
HARE
【新色予約開始 LADIES】ウーリーテック2WAYミドルコート
¥16,500税込
-
-
RAGEBLUE
【WOMENS】<WOOLLYTEC/ウーリーテック>2WAYスタンドカラーロングコート
¥13,200税込
-
-
RAGEBLUE
【WOMENS】<WOOLLYTEC/ウーリーテック>2WAYスタンドカラーロングコート
¥13,200税込
-
-
RAGEBLUE
【WOMENS】<WOOLLYTEC/ウーリーテック>2WAYスタンドカラーロングコート
¥13,200税込
-
-
GLOBAL WORK
軽やかストレッチ襟2WAYコート/499666
¥13,990税込
-
-
GLOBAL WORK
軽やかストレッチ襟2WAYコート/499666
¥13,990税込
-
-
GLOBAL WORK
軽やかストレッチ襟2WAYコート/499666
¥13,990税込
-
-
GLOBAL WORK
軽やかストレッチ襟2WAYコート/499666
¥13,990税込
-
-
HARE
【一部カラー予約受付中!LADIES】2WAYウーリーテックフェイクレザーキリカエトレンチコート
¥22,000税込
-
-
HARE
【一部カラー予約受付中!LADIES】2WAYウーリーテックフェイクレザーキリカエトレンチコート
¥22,000税込
-
-
HARE
【一部カラー予約受付中!LADIES】2WAYウーリーテックフェイクレザーキリカエトレンチコート
¥22,000税込
-
-
HARE
【一部カラー予約受付中!LADIES】2WAYウーリーテックフェイクレザーキリカエトレンチコート
¥22,000税込
-
-
HARE
【WEB先行予約 LADIES】ウーリーテックフェイクファーショートコート
¥18,920税込
-
-
HARE
【WEB先行予約 LADIES】ウーリーテックフェイクファーショートコート
¥18,920税込
-
-
HARE
【WEB先行予約 LADIES】ウーリーテックフェイクファーショートコート
¥18,920税込
-
-
HARE
【一部カラーWEB先行予約】ウーリーテックレイヤードブルゾン
¥17,930税込
-
-
HARE
【一部カラーWEB先行予約】ウーリーテックレイヤードブルゾン
¥17,930税込
-
-
HARE
【一部カラーWEB先行予約】ウーリーテックレイヤードブルゾン
¥17,930税込
-
-
HARE
【一部カラーWEB先行予約】ウーリーテックレイヤードブルゾン
¥17,930税込
-
-
HARE
【一部カラーWEB先行予約】ウーリーテックレイヤードブルゾン
¥17,930税込
-
-
RAGEBLUE
【WOOLLYTEC/ウーリーテック】ハンティングジャケット
¥12,100税込
-
-
RAGEBLUE
【WOOLLYTEC/ウーリーテック】ハンティングジャケット
¥12,100税込
-
-
RAGEBLUE
【WOOLLYTEC/ウーリーテック】ハンティングジャケット
¥12,100税込
-
-
RAGEBLUE
【WOOLLYTEC/ウーリーテック】ハンティングジャケット
¥12,100税込
-
-
niko and ...
【北村匠海さん着用アイテム】ウーリーテックハンティングブルゾン
¥14,000税込
-
-
niko and ...
【北村匠海さん着用アイテム】ウーリーテックハンティングブルゾン
¥14,000税込
-
-
niko and ...
【北村匠海さん着用アイテム】ウーリーテックハンティングブルゾン
¥14,000税込
-
-
niko and ...
【北村匠海さん着用アイテム】ウーリーテックハンティングブルゾン
¥14,000税込
-
-
repipi armario
【2WAY】ウーリーテックポンチョコート
¥8,990税込
-
-
repipi armario
【2WAY】ウーリーテックポンチョコート
¥8,990税込
-
-
studio CLIP
【先行予約】ステンカラーコート
¥11,000税込
-
-
studio CLIP
【先行予約】ステンカラーコート
¥11,000税込
-
-
studio CLIP
【先行予約】ステンカラーコート
¥11,000税込
-
-
RAGEBLUE
<Sサイズ予約受付中>【WOOLLYTEC/ウーリーテック】オーバーサイズ/ステッチジャケット
¥11,000税込
-
-
RAGEBLUE
<Sサイズ予約受付中>【WOOLLYTEC/ウーリーテック】オーバーサイズ/ステッチジャケット
¥11,000税込
-
-
RAGEBLUE
<Sサイズ予約受付中>【WOOLLYTEC/ウーリーテック】オーバーサイズ/ステッチジャケット
¥11,000税込
-
-
RAGEBLUE
<Sサイズ予約受付中>【WOOLLYTEC/ウーリーテック】オーバーサイズ/ステッチジャケット
¥11,000税込
-
-
RAGEBLUE
【WOMENS】<WOOLLYTEC/ウーリーテック>ハンティングステンカラーコート
¥14,300税込
-
-
RAGEBLUE
【WOMENS】<WOOLLYTEC/ウーリーテック>ハンティングステンカラーコート
¥14,300税込
-
-
RAGEBLUE
【WOMENS】<WOOLLYTEC/ウーリーテック>ハンティングステンカラーコート
¥14,300税込
-
-
LAKOLE
ウーリーテックハンティングブルゾン
¥6,490税込
-
-
LAKOLE
ウーリーテックハンティングブルゾン
¥6,490税込
-
-
LAKOLE
ウーリーテックハンティングブルゾン
¥6,490税込
-
-
LAKOLE
ウーリーテックハンティングブルゾン
¥6,490税込
-
-
PAGEBOY
【総選挙4位】ウーリーテックロングコート【一部追加予約】
¥17,600税込
-
-
PAGEBOY
【総選挙4位】ウーリーテックロングコート【一部追加予約】
¥17,600税込
-
-
PAGEBOY
【総選挙4位】ウーリーテックロングコート【一部追加予約】
¥17,600税込
-
-
HARE
【一部WEB先行予約】ウーリーテックキリカエトレンチコート
¥19,800税込
-
-
HARE
【一部WEB先行予約】ウーリーテックキリカエトレンチコート
¥19,800税込
-
-
HARE
【一部WEB先行予約】ウーリーテックキリカエトレンチコート
¥19,800税込
-
-
HARE
【一部WEB先行予約】ウーリーテックキリカエトレンチコート
¥19,800税込
-
-
RAGEBLUE
【WOOLLYTEC/ウーリーテック】サイドスリット/ハイネックトレンチコート
¥14,960税込
-
-
RAGEBLUE
【WOOLLYTEC/ウーリーテック】サイドスリット/ハイネックトレンチコート
¥14,960税込
-
-
RAGEBLUE
【WOOLLYTEC/ウーリーテック】サイドスリット/ハイネックトレンチコート
¥14,960税込
-
-
GLOBAL WORK
ウールライク切り替えコート/499669
¥13,990税込
-
-
GLOBAL WORK
ウールライク切り替えコート/499669
¥13,990税込
-
-
GLOBAL WORK
軽やかストレッチミドルコート/115505/アウトレット価格
¥6,992税込
-
-
studio CLIP
【WEB・一部地域限定】ウーリーテックスタンドコート
¥13,200税込
-
-
studio CLIP
【WEB・一部地域限定】ウーリーテックスタンドコート
¥13,200税込
-
-
LAKOLE
ウーリーテックチェスターコート
¥8,990税込
-
-
LAKOLE
ウーリーテックチェスターコート
¥8,990税込
-
-
LAKOLE
ウーリーテックチェスターコート
¥8,990税込
-
-
LAKOLE
ウーリーテックチェスターコート
¥8,990税込
-
-
LOWRYS FARM
【WEB先行予約】ウーリーテックロングダッフル
¥16,500税込
-
-
LOWRYS FARM
【WEB先行予約】ウーリーテックロングダッフル
¥16,500税込
-
-
HARE
【LADIES】ウーリーテックエリ2WAYミドルブルゾン
¥16,500税込
-
-
HARE
【LADIES】ウーリーテックエリ2WAYミドルブルゾン
¥16,500税込
-
-
HARE
【LADIES】ウーリーテックエリ2WAYミドルブルゾン
¥16,500税込
-
-
LAKOLE
TRウーリーテックジャケットSETUP
¥3,093税込
-
-
LAKOLE
TRウーリーテックジャケットSETUP
¥3,093税込
-
-
LAKOLE
TRウーリーテックジャケットSETUP
¥3,093税込
-
-
GLOBAL WORK
防風スマートロングコート/CLEAN MODE/451156
¥14,990税込
-
-
GLOBAL WORK
防風スマートロングコート/CLEAN MODE/451156
¥14,990税込
-
-
GLOBAL WORK
防風スマートチェスターコート/451154
¥13,990税込
-
-
GLOBAL WORK
防風スマートチェスターコート/451154
¥13,990税込
-
-
GLOBAL WORK
防風スマートチェスターコート/451154
¥13,990税込
-
-
niko and ...
【北村匠海さん着用アイテム】ウーリーテックカバーオール
¥13,000税込
-
-
niko and ...
【北村匠海さん着用アイテム】ウーリーテックカバーオール
¥13,000税込
-
-
niko and ...
【北村匠海さん着用アイテム】ウーリーテックカバーオール
¥13,000税込
-
-
PAGEBOY
ウーリーテックCPOジャケット
¥7,425税込
-
-
PAGEBOY
ウーリーテックCPOジャケット
¥7,425税込
-
-
PAGEBOY
ウーリーテックCPOジャケット
¥7,425税込
-
-
LAKOLE
【WEB先行予約】ウーリーテックA2ブルゾン
¥6,990税込
-
-
LAKOLE
【WEB先行予約】ウーリーテックA2ブルゾン
¥6,990税込
-
-
LAKOLE
【WEB先行予約】ウーリーテックA2ブルゾン
¥6,990税込
-
-
HARE
【WEB先行予約 LADIES】ウーリーテックトグルボタンステンカラーコート
¥18,700税込
-
-
HARE
【WEB先行予約 LADIES】ウーリーテックトグルボタンステンカラーコート
¥18,700税込
-
-
RAGEBLUE
【WOOLLYTEC/ウーリーテック】カバーオール
¥12,100税込
-
-
RAGEBLUE
【WOOLLYTEC/ウーリーテック】カバーオール
¥12,100税込
-
-
RAGEBLUE
【WOOLLYTEC/ウーリーテック】カバーオール
¥12,100税込
-
-
HARE
【新色予約開始 LADIES】ウーリーテック2WAYスタンドロングコート
¥17,600税込
-
-
HARE
【新色予約開始 LADIES】ウーリーテック2WAYスタンドロングコート
¥17,600税込
-
-
HARE
【新色予約開始 LADIES】ウーリーテック2WAYスタンドロングコート
¥17,600税込
-
-
HARE
【新色予約開始 LADIES】ウーリーテック2WAYスタンドロングコート
¥17,600税込
-
-
HARE
【新色予約開始 LADIES】ウーリーテック2WAYスタンドロングコート
¥17,600税込
-
-
LOWRYS FARM
【WEB限定アイテム】WフェイスPコート
¥13,200税込
-
-
LOWRYS FARM
【WEB限定アイテム】WフェイスPコート
¥13,200税込
-
-
LAKOLE
ウーリーテックミドルコート
¥4,672税込
-
-
mysty woman
【上西星来さん着用アイテム】スタンドネックロングコート【ウーリーテック】【古畑星夏さん着用アイテム】
¥9,240税込
-
-
mysty woman
【上西星来さん着用アイテム】スタンドネックロングコート【ウーリーテック】【古畑星夏さん着用アイテム】
¥9,240税込
-
-
mysty woman
【上西星来さん着用アイテム】BIGフードミドルコート【ウーリーテック】【古畑星夏さん着用アイテム】
¥8,580税込
-
-
mysty woman
【上西星来さん着用アイテム】BIGフードミドルコート【ウーリーテック】【古畑星夏さん着用アイテム】
¥8,580税込
-
-
niko and ...
ウーリーテックスタジャン
¥7,623税込
-
-
repipi armario
【10C REPIPI】ウーリーテックジャケット
¥6,990税込
-
-
repipi armario
【10C REPIPI】ウーリーテックジャケット
¥6,990税込
-
-
PAGEBOY
ウーリーテックミドルコート
¥15,400税込
-




